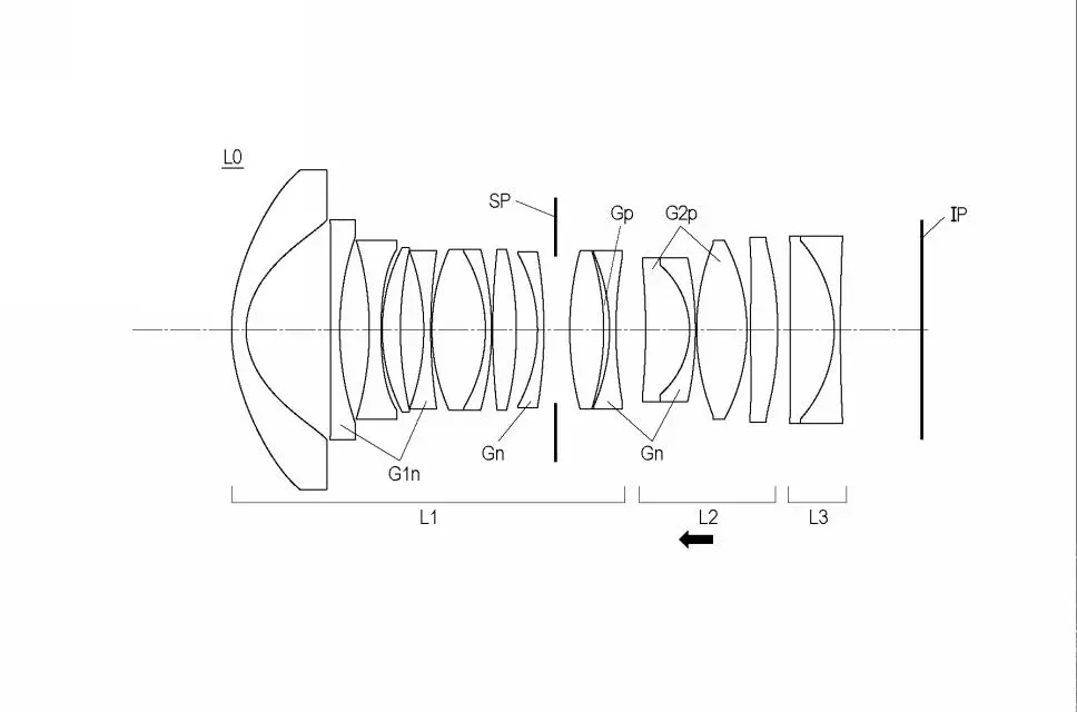
2026年1月13日付けでキヤノンの気になる特許出願が公開。「RF20mm F1.4 L VCM」を想定したような光学系のほか、「14mm F1.4」「20mm F1.8 IS」「24mm F1.4(既存製品とは異なる)」などの実施例を掲載。
キヤノン「14mm F1.4」「20mm F1.8 IS」「20mm F1.4」「24mm F1.4」光学系の特許出願
未分類
未分類2026年1月13日付けでキヤノンの気になる特許出願が公開。「RF20mm F1.4 L VCM」を想定したような光学系のほか、「14mm F1.4」「20mm F1.8 IS」「24mm F1.4(既存製品とは異なる)」などの実施例を掲載。